Revisions to the Handbook, 11th Edition
Users of the first and second printings of the Handbook of Steel Construction, 11th edition, have two options for updating their Handbook: Revisions List No. 2 - 4 October 2017 [...]
CISC Launches New Secure eBook Portal!
CISC has recently launched its new eBook Portal. Users may now purchase publications in electronic format. The three titles currently available are: ▪ Handbook Updates with Revised Tables – 2017 [...]
A Revised Printing of the 11th Edition Handbook Is Now Available
The 3rd Revised Printing of the Handbook of Steel Construction, 11th Edition, can now be purchased on the CISC Steel Store: https://steelstore.cisc-icca.ca/fr/products/handbook-of-steel-construction-11th-edition-3rd-revised-printing-2017 The 3rd Printing incorporates changes introduced in Update [...]
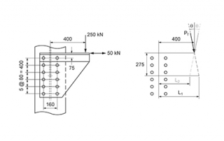
Bolt Groups Subjected to an Eccentric and Inclined Point Load Design – Example Using CISC SDS-2
A design example is presented to illustrate the use of charts in Module 2 of the CISC Steel Design Series, Bolt Groups Subjected to an Eccentric and Inclined Point Load. [...]
CISC Publishes Part 2 of Steel Design Series
The Solutions Centre provides SDS 2 - Bolt Groups Subjected to An Eccentric and Inclined Point Load as a convenient design aid for structural and connection design engineers in determining [...]
CISC provides the Steel Knowledge BLOG as a part of its commitment to the education of those interested in the use of steel in construction. Neither CISC nor the authors assume responsibility for errors or oversights resulting from the use of the information contained herein. When a solution is suggested it may not necessarily apply to a particular structure or application, and is not intended to replace the expertise of a professional engineer, architect or other licensed professional.